时代的标志
DZR系列集结了雅马哈所有扩声、声学和信号处理技术经验,尤其是Dante型号的引入,可谓是雅马哈首个高度集成、智能/可编辑的专业有源音箱系列的代表。


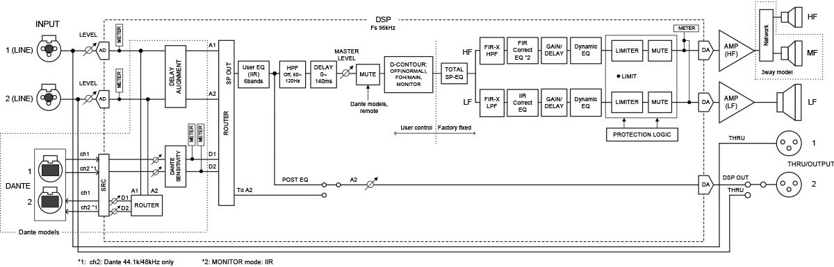
Yamaha DSP:智能处理,实现始终如一的清晰度和功率
优化的FIR-X Tuning
96kHz的DSP处理器有助于将DZR的大功率输出以超低延迟集中到真正的高解析度声音中。雅马哈全新开发的先进FIR-X调谐技术,大大改进了现有FIR-X调谐技术,该技术将线性相位FIR滤波器应用至交叉网络和EQ修正。使用FIR滤波器,可以实现非常平滑的频率响应,以获得没有相位失真的惊人清晰度和声音。精确的EQ滤波也可用于精准调整,从而在避免信号衰减的情况下实现理想的清晰度和同级别产品中最佳的声压级。

内置LCD屏幕,用户可以轻松进入各种丰富的DSP功能,加载预设,并对PEQ、延迟和路由进行精确调整。8个用户预设可用于保存属于自己的参数调整,或使用优化的专用出厂预设来组合使用DZR和DXS XLF系列。用户可以轻松将保存的设置传输到USB闪存。

D-CONTOUR
D-CONTOUR是一款智能的多频段压缩器,无论用多达的功率进行驱动,都可确保您的DZR声音始终一致和清晰。通过连续监测多个频段的输出并对每个频段应用最佳的EQ调整,即便是最高的输出电平也能保持出色的清晰度和音乐性。
作为对DZR多功能箱体设计的完美补充,D-CONTOUR具有两种不同的设置,即FOH/MAIN或MONITOR模式,根据您的PA配置,提供更为详细的声音调整。FOH/MAIN模式可提升低频,补偿因音箱用于悬挂应用或安装在音箱支架上时通常会丢失的低频声音。MONITOR模式通过抑制地板反射带来的问题低频,特别适用于地面监听应用,同时该模式对宽广的频率进行平滑处理,可满足专业人员对舞台监听所要求的清晰度。两种预设都经过经验丰富的音响工程师无数次的听音测试才达到满意的结果,确保在任何输出电平下以低的失真提供持久不变的声音。

可实现最大输出和保护组件寿命的DSP保护功能
有源音箱的一个优势是可将单元与功放进行组合搭配,在可能的范围内实现最佳性能。在DZR和DXS XLF系列的开发阶段,我们对每个单元的耐久性和供方的整体输出进行了测量和测试,使用精确的DSP控制为每个型号设置最佳的限制点。采用雅马哈高端专业功放使用的同款保护功能,艺术级品质的DSP可持续监控电源、功放、单元和信号电平的状态,以保护每个组件使其保持最佳性能,延长组件寿命和可用性。

首款配备Dante的专业扩声音箱

所有DZR音箱和DXS XLF超低音音箱均包含配备Dante的“D”型号,通过Dante I/O(2进/2出)实现与雅马哈调音台和其他Dante设备的智能系统集成,该系统还具有SRC(采样率转换)功能,可兼容48kHz设备。
在I/O设备显示器的帮助下,雅马哈CL/QL数字调音台的操作被大大简化,TF调音台用户可以选择快速配置,便于轻松地设置和操作复杂的扩声系统。模拟I/O与DanteI/O的结合可开启灵活的路由和系统配置选项,而Dante的break-IN和break-OUT功能通过充当简单的I/O设备,增加了更大的灵活性。
* 此外,雅马哈可定制的Windows控制面板软件“ProVisionaire Control”和iPad的“ProVisionaire Touch”也兼容Dante,为扩声系统增加了更简单的远程管理。
* 未来版本将支持此功能
全Dante连接

混合连接

高功率2000W D类功放
全新高效的D级功放模块可产生同类等级中领先的2000W功率以及令人印象深刻的143dB SPL。带有PFC(功率因数校正)的通用开关电源,可最大限度提高功率输出,同时确保稳定和无忧的运行。所有功放都经过筛选和优化以匹配全频DZR的高频、中频(仅DZR315)和低频单元,同时也为DXS XLF超低音音箱开发了单独的定制功放。

定制型单元
高频单元
高频单元由 2”音圈和 1”喉部压缩驱动器、钛膜片与钕磁铁组成,内置耐用、耐热的铝铸框架。

适用于3分频的中频单元
用于3分频DZR315型号的中频单元采用 8”锥形单元和 1.5”音圈,可为中低频提供更好的效率和超低失真,并有助于提高143dB最大声压级的清晰度。

低频单元
全新开发的专用低频单元使用大型3˝ 音圈、铸铝框架以及强大的轻量化钕磁铁,在轻质的结构下可处理高功率和强大的低频响应。其响应经过严格控制,尤其是中低频和人声范围,即便在最高输出下也能确保整体响应强大有力且没有失真。

强大的灵活性
智能的设计实现专业用途
DZR15、DZR12和DZR10音箱具有可旋转喇叭设计,支持垂直或水平安装,可进一步适应场地的声学规格。DZR15的覆盖角度为90x50°,DZR12和DZR10为90x60°。恒指向性号角的设计目的是在想定的覆盖范围内提供平滑的电平覆盖,最大限度减少传统喇叭设计中常见的滚降。

音箱箱体采用15mm厚度的高级胶合板制成,并覆盖一层非常耐用的军用级聚脲涂层。全频音箱的外壳还配有蝶形接头,用于增加强度并降低箱体的振动,而宽广的喇叭形端口有助于在非常高的输出电平下将端口噪声降至最低。DZR15、DZR12及其各Dante型号的外壳设计支持镜像监听放置,能够为表演者带来对称的声场,与传统的监听配置相比具有更大、更明确的“最佳听音点”。(DZR10/DZR10-D不对称。)采用平衡的双单声道配置或立体声监听混音设置,镜像模式的舞台返听方式能够一定程度地加强您的临场表现力。


用于垂直和水平安装的U型支架
DZR系列配备许多吊装孔,可以用标准吊环螺栓进行吊装*。更多详情请参见一般规格。*吊环螺栓不包括在产品内。

U安全操作的实用工具
DZR系列可快速便捷地配置面板设置并通过USB传输数据,面板锁定功能可保护您的设置安全。用户还可将内部设备和日志数据等信息导出至USB,用于在出现问题时快速排除故障。

DZR10-D 有源音箱
DZR10-D是一款配备Dante的二分频外置分频有源音箱,可产生超高清晰度的最大137dB SPL。与同类产品相比,DZR10-D拥有卓越的音量性能、先进的数字信号处理能力以及出色的低频声音再现能力,在小巧轻便的外观设计中实现了更高功率等级的专业声音。
二分频有源音箱,2"HF和10"LF
最大137dB SPL和44Hz-20kHz频率响应,非常适合当下的声音工程的需求
高功率2000W D类功放模块
96kHz DSP和FIR滤波器可带来真正高解析度和超低延迟声音
具有先进的FIR-X tuning,FIR滤波与正确的均衡器的结合可最大限度地减少相位失真
具有Dante I/O(2进/2出),SRC(采样率转换)可实现48kHz设备兼容性
通过直观的LCD显示屏,可进入各种DSP功能并加载预设,或对PEQ、延迟和路由等进行精确调整。
D-Contour和高度可靠的保护电路
地面监听设置
轻质耐用的胶合板箱体,采用优质聚脲涂层
可选购音箱面罩(SPCVR-DZR10)
可旋转的设计和各种U型支架选购件(UB-DZR)可用于吊挂使用,实现灵活的设置和音箱放置






- 上一页:WaveLab Elements 9
- 下一页:DZR15-D
